Tổng cộng:
Điện thoại thông minh hàng đầu của Samsung , Galaxy S9 đã có tin đồn từ vài tháng qua. Lần này, một bằng sáng chế mới đã được khai quật cho thấy một tính năng mới mà có thể làm cho một lần đầu với chiếc điện thoại.
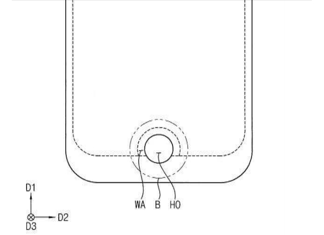
Như được tìm thấy bởi trang web Galaxyclub.nl, bằng sáng chế mới của công ty công nghệ Hàn Quốc cho thấy một cảm biến dấu vân tay được đặt ở phía trước. Điều này có thể xảy ra đối với công nghệ 'InfinityDisplay' của công ty mà chúng ta đã thấy với Galaxy S8, Galaxy S8 + và Galaxy Note 8 smartphones.
Mặc dù chính xác như thế nào Samsung kế hoạch để làm cho nó có thể vẫn còn là một bí ẩn. Tuy nhiên, nếu công ty có một bằng sáng chế nộp, nó phải có một số giải pháp sẵn sàng.

Từ một trong những hình ảnh được tìm thấy trong bản quyền được nộp, cảm biến dấu vân tay có thể được đặt một phần trên màn hình và một phần trên khung bên dưới nó. Hình ảnh cũng có thể có nghĩa là Samsung có thể sẽ có kế hoạch cắt giảm thay vì một máy quét vân tay trên màn hình. Điều này sẽ chiếm một phần nhỏ của màn hình, giống như 'Notch' trong iPhone X.
Samsung không chỉ làm việc trên Galaxy S9 mà còn làm việc trên S Pen của Galaxy Note 9. Như đã đề cập của BJ Kang, Tập đoàn Lập kế hoạch Toàn cầu của Samsung, Mobile Communications Business trong bài đăng trên blog của công ty, nhóm nghiên cứu thường nghỉ giải lao sau khi tung ra các mô hình hàng đầu nhưng lần này thì không.
Nhóm nghiên cứu đang nghiên cứu cách cải tiến S-Pen trong thiết bị Samsung Galaxy Note sắp tới, được chú ý như chú thích 9 của Galaxy.
"Thông thường, khi một dự án kết thúc, chúng tôi có một khoảng thời gian ngắn trước khi chuyển sang kế tiếp, nhưng lần này, chúng tôi không nghỉ ngơi, mặc dù quá trình lập kế hoạch sản phẩm Galaxy Note8 quá thách thức", ông nói. trong bài đăng blog chính thức.
THÔNG SỐ KỸ THUẬT SAMSUNG GALAXY S9
| TÓM LƯỢC |
| ||||||||||||||||||||
| TÍNH NĂNG ĐẶC BIỆT |
| ||||||||||||||||||||
| CHUNG |
| ||||||||||||||||||||
| ĐA PHƯƠNG TIỆN |
| ||||||||||||||||||||
| HIỆU SUẤT |
| ||||||||||||||||||||
| THIẾT KẾ |
| ||||||||||||||||||||
| TRƯNG BÀY |
| ||||||||||||||||||||
| LƯU TRỮ |
| ||||||||||||||||||||
| MÁY ẢNH |
| ||||||||||||||||||||
| ẮC QUY |
| ||||||||||||||||||||
| MẠNG ĐÃ ĐƯỢC KẾT NỐI |
|
